Kia Cadenza YG: Control del motor/Sistema de combustible
Características técnicas
| Sistema de alimentación de combustible |
Elemento
|
Especificación
|
Sistema de inyección de combustible
|
Tipo
|
Inyección directa del common raíl (CDRI)
|
Sistema de retorno de combustible
|
Tipo
|
Tipo de retorno
|
Filtro de combustible
|
Tipo
|
Tipo de alta presión (integrado en el compartimento del motor)
|
Depósito de combustible
Elemento
|
Especificación
|
Capacidad del depósito de combustible (ℓ)
|
45lit. (11,9U.S.gal., 47,6U.S.qt., 39,6lmp.qt.)
|
Bomba de combustible
Emisor de combustible
posición
|
Resistencia (Ω)
|
Capacidad (ℓ)
|
E
|
278 - 305
|
2-7
|
1-2
|
85,5 - 87,5
|
23,4
|
F
|
14 ~ 16
|
44,1
|
Bomba de alta presión
Elemento
|
Especificación
|
Presión de combustible de alta presión
|
Al funcionar
|
barra
|
Máx. 2000
|
MPa
|
Máx. 200
|
kgf/cm²
|
Máx. 2039
|
Psi
|
Máx. 29007,5
|
Al inicio
|
barra
|
Mín. 120
|
MPa
|
Mín. 12
|
kgf/cm²
|
Mín. 122,4
|
Psi
|
Mín. 1740,4
|
Presión de combustible de baja presión
|
ENTRADA
|
barra
|
4,7 ~ 7,0
|
MPa
|
0,47 ~ 101,5
|
kgf/cm²
|
4,79 ~ 7,14
|
Psi
|
68,2 ~ 101,5
|
Salida
|
barra
|
0,6 ~ 3,5
|
MPa
|
0,06 ~ 0,35
|
kgf/cm²
|
0,6 ~ 3,57
|
Psi
|
8,7 ~ 50,8
|
Tipo
|
Mecánico, tipo bombeo de émbolo
|
Impulsada por
|
Cadena de distribución
|
Raíl de alta presión
Elemento
|
Especificación
|
Margen de presión de combustible de alta presión
|
barra
|
0 ~ 2200
|
MPa
|
0 ~ 220
|
kgf/cm²
|
0 ~ 2243,4
|
Psi
|
0 ~ 31908,3
|
Voltaje de alimentación (V)
|
4,75 ~ 5,25
|
Corriente de alimentación (mA)
|
12 ~ 15
|
| Sistema de control del motor |
Inyector
Elemento
|
Especificación
|
Resistencia de la bobina (Ω)
|
0,35 ~ 0,43 [20°C(68°F)]
|
Número
|
4
|
Clavija
|
2
|
Datos específicos del inyector
|
7 dígitos
|
Corriente de alimentación (A)
|
8,8 ~ 9,8
|
Presión de arranque de funcionamiento
|
barra
|
Mín. 100
|
MPa
|
Mín. 10
|
kgf/cm²
|
Mín. 102
|
Psi
|
Mín. 1450
|
Presión de funcionamiento
|
barra
|
230 ~ 2000
|
MPa
|
23 ~ 200
|
kgf/cm²
|
234,5 ~ 2039,4
|
Psi
|
3335,9 ~ 29007,6
|
Sensor de sobrepresión
▷ Tipo : Tipo sensor de presión piezorresistivo
▷ Especificaciones
Presión [kPa (kg/cm² / psi)]
|
Voltaje de salida (V) [Vref=5 V]
|
32.5 (0.33 / 4.71)
|
0,5
|
284 (2,89 / 41,19)
|
4,5
|
SENSOR DE TEMPERATURA
DE AIRE DE ADMISIÓN (IATS) N° 1 [INCORPORADO EN EL MAFS]
▷ Tipo: Tipo termistor
▷ Especificaciones
temperatura
|
Resistencia [kΩ]
|
°C
|
°F
|
-40
|
-40
|
35,14 ~ 43,76
|
-30
|
+22
|
20,77 ~ 25,31
|
-20
|
+4
|
12,66 ~ 15,12
|
-10
|
14
|
7,9 ~ 9,3
|
0
|
32
|
5,12 ~ 5,89
|
10
|
50
|
3,38 ~ 3,83
|
20
|
68
|
2,29 ~ 2,55
|
30
|
86
|
1,57 ~ 1,75
|
40
|
104
|
1,10 ~ 1,24
|
50
|
122
|
0,78 ~ 0,89
|
60
|
140
|
0,57 ~ 0,65
|
70
|
158
|
0,42 ~ 0,49
|
80
|
176
|
0,31 ~ 0,37
|
90
|
194
|
0,24 ~ 0,29
|
100
|
212
|
0.18 ~ 0.22
|
110
|
230
|
0,144 ~ 0,176
|
120
|
248
|
0,114 ~ 0,141
|
130
|
266
|
0,09 ~ 0,11
|
Sensor de temperatura
del aire de admisión (IATS) 2
▷ Tipo: Tipo termistor
▷ Especificaciones
temperatura
|
Resistencia [kΩ]
|
°C
|
°F
|
-40
|
-40
|
40,93 ~ 48,35
|
-30
|
+22
|
23,43 ~ 27,34
|
-20
|
+4
|
13,89 ~ 16,03
|
-10
|
14
|
8,5 ~ 9,7
|
0
|
32
|
5,38 ~ 6,09
|
10
|
50
|
3,48 ~ 3,90
|
20
|
68
|
2,31 ~ 2,57
|
30
|
86
|
1,9 ~ 2,1
|
40
|
104
|
1,08 ~ 1,21
|
50
|
122
|
0,76 ~ 0,85
|
60
|
140
|
0,54 ~ 0,62
|
70
|
158
|
0,40 ~ 0,45
|
80
|
176
|
0,29 ~ 0,34
|
90
|
194
|
0,22 ~ 0,26
|
100
|
212
|
0,17 ~ 0,20
|
110
|
230
|
0,13 ~ 0,15
|
120
|
248
|
0,10 ~ 0,12
|
130
|
266
|
0,08 ~ 0,09
|
140
|
284
|
0,064 ~ 0,079
|
150
|
302
|
0,052 ~ 0,063
|
Sensor temperatura
refrigerante motor
▷ Tipo: Tipo termistor
Temperatura (°C [°F])
|
Resistencia (kΩ)
|
-40 (-40)
|
48,14
|
-20 (-4)
|
14,13 ~ 16,83
|
0 (32)
|
5,79
|
20 (68)
|
2,31 ~ 2,59
|
40 (104)
|
1,15
|
60 (140)
|
0,59
|
80 (176)
|
0,32
|
100(212)
|
0,19
|
110(230)
|
0,145 ~ 0,149
|
120(248)
|
0,12
|
Sensor arbol de levas
CMP
Elemento
|
Especificación
|
Impulso de salida (V)
|
alto
|
5
|
Bajo
|
0
|
Entrehierro [mm (in.)]
|
0,2 ~ 2,0 (0,0079 ~ 0,079)
|
Tipo
|
Tipo efecto Hall
|
Clavija
|
3
|
Sensor de posición
de cigüeñal
Elemento
|
Especificación
|
Resistencia de la bobina (Ω)
|
774 ~ 946 [20 °C (68 °F)]
|
Voltaje de salida (V)
|
0 ~ 5
|
Tipo
|
Tipo sensible a campos magnéticos
|
Clavija
|
3
|
Sensor de temperatura
de combustible
▷ Tipo: Tipo termistor
Temperatura (°C [°F])
|
Resistencia (kΩ)
|
-30 (-22)
|
27,00
|
-20 (-4)
|
15,67
|
-10 (14)
|
9,45
|
0 (32)
|
5,89
|
20 (68)
|
2,27 ~ 2,73
|
40 (104)
|
1,17
|
50 (122)
|
0,83
|
60 (140)
|
0,60
|
70 (158)
|
0,43
|
80 (176)
|
0,30 ~ 0,32
|
85 (185)
|
0,269
|
90 (194)
|
0,231
|
95 (203)
|
0,205
|
100 (212)
|
0,176
|
105 (221)
|
0,158
|
110 (230)
|
0,137
|
120 (248)
|
0,112
|
130 (266)
|
0,088
|
Sensor de presión de
combustible
▷ Tipo: Tipo piezoeléctrico
Elemento
|
Especificación
|
Margen de presión de combustible de alta presión
|
barra
|
0 ~ 2200
|
MPa
|
0 ~ 220
|
kgf/cm²
|
0 ~ 2243,4
|
Psi
|
0 ~ 31908,3
|
Voltaje de alimentación (V)
|
4,75 ~ 5,25
|
Corriente de alimentación (mA)
|
12 ~ 15
|
Sonda lambda #1
▷ Tipo: Tipo de circonio (ZrO2)
Elemento
|
Especificación
|
Resistencia del calefactor (Ω)
|
2,4 ~ 4,0 [20 °C (68 °F)]
|
Tipo
|
Lineal
|
Clavija
|
6
|
Sonda lambda #2
▷ Tipo: Tipo de circonio (ZrO2)
Elemento
|
Especificación
|
Resistencia del calefactor (Ω)
|
2,4 ~ 4,0 [20 °C (68 °F)]
|
Tipo
|
Lineal
|
Clavija
|
6
|
SENSOR DE PRESIÓN DE
DIFERENCIAL (DPS)
▷ Tipo: Tipo piezoeléctrico
▷ Especificaciones : V out = (4,5 - 1,0) / 100 * ΔP + 1,0 (V)
Presión diferencia [ΔP] [kPa (kg/cm² / psi)]
|
Voltaje de salida (V)
|
0
|
1,00
|
10 (0.1 / 1.45)
|
1,35
|
20 (0.2 / 2.90)
|
1,70
|
30 (0.3 / 4.35)
|
2,05
|
40 (0.4 / 5.80)
|
2,40
|
50 (0.5 / 7.25)
|
2,75
|
60 (0.6 / 8.70)
|
3,10
|
70 (0.7 / 10.10)
|
3,45
|
80 (0.8 / 11.60)
|
3,80
|
90 (0.9 / 13.00)
|
4,15
|
100 (1.0 / 14.50)
|
4,50
|
Sensor de temperatura
del gas de escape (EGTS) N° 1
▷ Tipo: Tipo termistor
Temperatura (°C [°F])
|
Resistencia (kΩ)
|
100(212)
|
289,0 ~ 481,0
|
300(572)
|
5,30 ~ 6,61
|
600 (1.112)
|
0,35 ~ 0,38
|
900 (1.652)
|
0,08 ~ 0,09
|
Sensor de temperatura
del gas de escape (EGTS) N° 2
▷ Tipo: Tipo termistor
Temperatura (°C [°F])
|
Resistencia (kΩ)
|
100(212)
|
289,0 ~ 481,0
|
300(572)
|
5,30 ~ 6,61
|
600 (1.112)
|
0,35 ~ 0,38
|
900 (1.652)
|
0,08 ~ 0,09
|
Sensor PM
Elemento
|
Especificación
|
Temperatura de combustión completa
|
°C
|
más de 650
|
°F
|
más de 1.202
|
Calentador y sensor
|
Método de control
|
Rendimiento 100 Hz
|
Resistencia del calefactor (Ω)
|
4,2 ~ 5,2
|
Control
|
Voltaje de alimentación (V)
|
9,0 ~ 16,5
|
Condiciones de funcionamiento anómalas (V)
|
6,5 < Controlador < 9,0
|
16,5 < Controlador < 25
|
Condiciones de reinicio (V)
|
más de 6,5
|
Corriente de suministro (en inactividad del calefactor) (mA)
|
50
|
Sensor de temperatura
del aceite (OTS) y sensor de presión del aceite (OPS)
SENSOR DE TEMP. DEL ACEITE (OTS)
Temperatura del aceite (°C(°F))
|
Resistencia [kΩ]
|
-40 (-40)
|
41,74 ~ 54,54
|
-20 (-4)
|
14,13 ~ 16,83
|
-10 (14)
|
8,39 - 10,22
|
0 (32)
|
5,28 - 6,30
|
25 (77)
|
1,88 ~ 2,14
|
80 (176)
|
0,31 ~ 0,33
|
140 (284)
|
0,07 - 0,077
|
150 (302)
|
0,059 - 0,063
|
Sensor de presión de aceite (OPS)
Presión (bar, kPa, kg/cm², psi)
|
Voltaje de salida (V) [Vref=5 V]
|
0
|
0,5
|
2,5 bar, 250 kPa, 2,5 kg/cm², 36,26 psi
|
2,5
|
10 bar, 1000 kPa, 10,2 kg/cm², 145 psi
|
4,5
|
Sensor de posición
de acelerador
▷ Tipo : Tipo de potenciómetro
Estado de prueba
|
Voltaje de salida (V) [Vref=5 V]
|
APS.1
|
APS.2
|
Ralentí
|
0,7 ~ 0,8
|
0,29 ~ 0,46
|
Pisado a fondo
|
3,85 ~ 4,35
|
1,93 ~ 2,18
|
Válvula de control
de presión de combustible (FPCV)
Elemento
|
Especificación
|
Resistencia de la bobina (Ω)
|
2,60 ~ 3,15 [20°C (68°F)]
|
Corriente (A)
|
Mín. 1,8
|
Frecuencia de impulsos (Hz)
|
165 ~ 195
|
Voltaje abierto completo (V)
|
8 ~ 16
|
Válvula de solenoide
de desviación del refrigerador EGR
Elemento
|
Especificación
|
Resistencia de la bobina (Ω)
|
28,3 ~ 31,1 [20°C(68°F)]
|
Voltaje nominal (V)
|
12
|
Voltaje de funcionamiento (V)
|
9 - 16
|
Clavija
|
2
|
Válvula del Regulador
de Presión del Raíl (RPRV)
Elemento
|
Especificación
|
Corriente de funcionamiento (A)
|
1,79 ~ 1,81
|
Frecuencia de operación (kHz)
|
1
|
Tipo de frecuencia
|
PWM
|
Válvula eléctrica EGR
(Recirculación de gases de escape)
sensor
Elemento
|
Especificación
|
Voltaje de alimentación (V)
|
4 ~ 6
|
Motor CC
Elemento
|
Especificación
|
Voltaje de alimentación (V)
|
13,5
|
Frecuencia de operación (kHz)
|
1 ~ 5
|
Margen de voltaje de alimentación (V)
|
9 - 16
|
Válvula de control
de aire (ACV)
Motor
Elemento
|
Especificación
|
Tensión nominal
|
12
|
Voltaje de funcionamiento (V)
|
9 ~ 17
|
Tipo
|
Motor CC
|
Frecuencia de contro (Hz)
|
200 ~ 1500
|
Resistencia de la bobina (Ω)
|
2,65 ~ 3,25
|
Máx. corriente permitida (A)
|
0,8 ~ 1,7
|
Corriente d bloqueo (A)
|
2,7 ~ 5,0
|
Clavija
|
2
|
sensor
Elemento
|
Especificación
|
Tipo
|
Sensor sin contacto
|
Voltaje nominal (V)
|
5
|
Voltaje de funcionamiento (V)
|
4,5 ~ 5,5
|
Clavija
|
3
|
Actuador de control
de turbulencia variable (VSA)
Motor
Elemento
|
Especificación
|
Voltaje de funcionamiento (V)
|
10 ~ 16
|
Tensión nominal
|
12
|
Tipo
|
Motor CC
|
Resistencia de la bobina (Ω)
|
3,4 ~ 4,4
|
Corriente a ralentí (mA)
|
Máx. 210 [20°C(68°F)]
|
Corriente de arranque (A)
|
Inferior a 4,75
|
sensor
Elemento
|
Especificación
|
Resistencia de la bobina (Ω)
|
3.01 ~ 5.59 [20°C(68°F)]
|
Voltaje de salida (V)
|
0,17 ~ 4,83
|
Corriente de alimentación (mA)
|
Máx. 16
|
Válvula de Solenoide
de Control WGT
Elemento
|
Especificación
|
Tensión nominal
|
12
|
Voltaje de funcionamiento (V)
|
10,8 ~ 16
|
Tipo de control de voltaje
|
PWM
|
Frecuencia de contro (kHz)
|
300
|
Ciclo de rendimiento (%)
|
20 ~ 95
|
Resistencia de la bobina (Ω)
|
14,7 ~ 16,1 [20 °C (68 °F)]
|
Rpm ralentí básico
(Después de calentamiento)
|
A/A OFF
|
Posición punto muerto, N, P
|
850 ± 100 rpm
|
Pérdida de velocidad en primera marcha
|
900 ± 100 rpm
|
A/C ON
|
Posición punto muerto, N, P
|
850 ± 100 rpm
|
Pérdida de velocidad en primera marcha
|
900 ± 100 rpm
|
Sistema de control
del motor
Elemento
|
kgf·m
|
N·m
|
Lb·pie
|
Tuerca de montaje del ECM
|
0,9 ~ 1,2
|
8,8 ~ 11,8
|
6,5 ~ 8,7
|
Tornillo de fijación del soporte del ECM
|
2,2 ~ 3,3
|
21,6 ~ 32,4
|
15,9 ~ 23,9
|
Tuerca de montaje del soporte del ECM
|
1,0 ~ 1,5
|
9,8 ~ 14,7
|
7,2 ~ 8,7
|
Perno de montaje de sujeción del inyector
|
2,9 ~ 3,1
|
28,4 ~ 30,4
|
21,0 ~ 22,4
|
Tornillo de montaje de sujeción del sensor de flujo de masa de aire (MAFS)
|
0,3 ~ 0,5
|
2,9 ~ 4,9
|
2,2 ~ 3,6
|
Perno de montaje del sensor de flujo de masa de aire (MAFS)
|
0,4 ~ 0,6
|
3,9 ~ 5,9
|
2,9 ~ 4,3
|
Perno de montaje del sensor de presión de sobrealimentación (BPS)
|
1,0 ~ 1,2
|
9,8 ~ 11,8
|
7,2 ~ 8,7
|
Tornillo de montaje de sujeción del sensor de temperatura de aire de admisión
N°1 (IATS)
|
0,3 ~ 0,5
|
2,9 ~ 4,9
|
2,2 ~ 3,6
|
Perno de montaje del sensor de temperatura de aire de admisión N° 2 (IATS)
|
0,7 ~ 1,1
|
6,9 ~ 10,8
|
5,1 ~ 8,0
|
Sensor temperatura refrigerante motor
|
2,5 ~ 3,5
|
24,5 ~ 34,3
|
18,1 ~ 25,3
|
Perno de montaje del sensor de posición del cigüeñal (CKPS)
|
0,7 ~ 1,1
|
6,9 ~ 10,8
|
5,1 ~ 8,0
|
Perno de montaje del sensor posición del árbol de levas (CMPS)
|
0,8 ~ 1,0
|
7,8 ~ 9,8
|
5,8 ~ 7,2
|
Sonda lambda #1
|
4,0 ~ 5,0
|
39,2 ~ 49,1
|
28,9 ~ 36,2
|
Sonda lambda #2
|
4,0 ~ 5,0
|
39,2 ~ 49,1
|
28,9 ~ 36,2
|
Perno de montaje del sensor de presión de diferencial (DPS)
|
0,7 ~ 1,1
|
6,9 ~ 10,8
|
5,1 ~ 8,0
|
Sensor de temperatura del gas de escape (EGTS) N° 1
|
4,0 ~ 5,0
|
39,2 ~ 49,1
|
28,9 ~ 36,2
|
Sensor de temperatura del gas de escape (EGTS) N° 2
|
4,0 ~ 5,0
|
39,2 ~ 49,1
|
28,9 ~ 36,2
|
Tuerca/perno de montaje del [controlador] sensor de partículas (PM)
|
1,0 ~ 1,2
|
9,8 ~ 11,8
|
7,2 ~ 8,7
|
Sensor de partículas (PM) [Sensor y calefactor]
|
5,0 - 6,0
|
49,0 - 58,8
|
36,1 ~ 43,4
|
Tuerca de montaje del módulo del pedal del acelerador
|
1,3 ~ 1,6
|
12,7 ~ 15,7
|
9,4 ~ 11,6
|
Perno de montaje del módulo del pedal del acelerador
|
0,9 ~ 1,4
|
8,8 ~ 13,7
|
6,5 ~ 10,1
|
Perno de montaje del soporte de la válvula solenoide de desviación del refrigerador
EGR
|
0,7 ~ 1,1
|
6,9 ~ 10,8
|
5,1 ~ 8,0
|
Perno de montaje de la válvula de control EGR (EEGR) eléctrica
|
0,8 ~ 1,2
|
7,8 ~ 11,8
|
5,8 ~ 8,7
|
Tuerca/Perno de montaje de la válvula de control de aire (ACV)
|
0,7 ~ 1,1
|
6,9 ~ 10,8
|
5,1 ~ 8,0
|
Sistema de alimentación
de combustible
Elemento
|
kgf·m
|
N·m
|
Lb·pie
|
Tornillo de montaje de la banda del depósito de combustible
|
4,0 ~ 5,5
|
39,2 ~ 53,9
|
28,9 ~ 39,8
|
Perno de montaje de la cubierta de la placa de la bomba de combustible
|
0,2 ~ 0,3
|
1,96 ~ 2,94
|
1,44 ~ 2,17
|
Perno de fijación del filtro de combustible (en el soporte)
|
0,8 ~ 1,2
|
7,8 ~ 11,8
|
5,8 ~ 8,7
|
Tuerca de montaje del soporte del filtro de combustible (en el vehículo)
|
0,4 ~ 0,6
|
3,9 ~ 5,9
|
2,9 ~ 4,3
|
Perno de montaje del soporte del conjunto del cuello de llenado
|
0,8 ~ 1,2
|
7,8 ~ 11,8
|
5,8 ~ 8,7
|
Perno de montaje del conjunto del cuello de llenado
|
0,8 ~ 1,2
|
7,8 ~ 11,8
|
5,8 ~ 8,7
|
Perno de montaje de sujeción del tubo de combustible de alta presión
|
0,7 ~ 1,1
|
6,8 ~ 10,7
|
5,1 ~ 8,0
|
Tuerca de brida del conducto de combustible de alta presión (inyector ↔
common rail)
|
2,5 - 2,9
|
24,5 - 28,4
|
18,1 - 21,0
|
Perno de fijación del soporte de la línea de retorno y de alimentación de
combustible de baja presión
|
0,7 ~ 1,1
|
6,8 ~ 10,7
|
5,1 ~ 8,0
|
Tapón de la tapa de la cadena de distribución
|
2,6 ~ 3,5
|
25,5 ~ 34,3
|
18,8 ~ 25,3
|
Tuerca de la rueda dentada de la bomba de combustible de alta presión
|
6,6 - 7,6
|
64,7 - 74,5
|
47,7 - 55,0
|
Perno de montaje de la bomba de combustible de alta presión
|
2,0 - 2,6
|
19,6 - 25,5
|
14,5 - 18,8
|
Tuerca de brida del conducto de combustible de alta presión [Common rail
↔ bomba de combustible de alta presión]
|
2,5 - 2,9
|
24,5 - 28,4
|
18,1 - 21,0
|
Perno de montaje del common rail
|
1,5 ~ 2,2
|
14,7 ~ 21,6
|
10,9 ~ 15,9
|
Herramientas de mantenimiento especiales
| Herramientas de mantenimiento
especiales |
Nombre/ número de herramienta
|
Ilustración
|
Descripción
|
Extractor de inyectores
09351-4A300
|

|
Extracción del inyector agarrotado
|
Adaptador del extractor del inyector
0K338-2F100
|

|
Extracción del inyector agarrotado
|
Casquillo para la llave de par
09314-27120 (17 mm)
|

|
Montaje de la tubería de combustible de alta presión
|
Bomba de combustible de alta presión
Extractor de ruedas dentadas
09331-2A010
|

|
Extracción de la bomba de combustible de alta presión
|
Tope de volante
09231-2B100
|

|
Extracción de la bomba de combustible de alta presión
|
Diagnóstico de averías
| LOCALIZACIÓN BÁSICA DE AVERÍAS |
| GUÍA BÁSICA DE LOCALIZACIÓN DE AVERÍAS |

HOJA DE ANÁLISIS DEL
PROBLEMA DEL CLIENTE

PROCEDIMIENTO BÁSICO
DE COMPROBACIÓN
CONDICIONES DE MEDICIÓN
DE LA RESISTENCIA DE LAS PIEZAS ELECTRÓNICAS
La resistencia medida a temperatura alta después de la marcha del vehículo puede
ser alta o baja. Por tanto, toda resistencia debe medirse a temperatura ambiente
(20 °C, 68 °F), a no ser que se requiera lo contrario.
|
La resistencia medida en relación con la temperatura ambiente (20 °C,
68 °F) es valor de referencia.
|
PROCEDIMIENTO DE COMPROBACIÓN
DE PROBLEMA INTERMITENTE
En muchos casos, la localización de avería más dificil es aquella cuyo síntoma
de problema se produce una vez pero no se vuelve a repetir en la comprobación. Un
ejemplo es si un problema aparece sólo cuando el vehículo está en frío y no aparece
cuando está en caliente. En este caso, el técnico debe elaborar una "HOJA DE ANÁLISIS
DE PROBLEMA DEL CLIENTE" y recree (simule) el entorno y las condiciones que tuvieron
lugar en el momento en que se presentó el problema.
| 2. |
Compruebe la conexión del conector y compruebe el terminal por si hubiese
una mala conexión, el cableado estuviese suelto o doblado, o hubiese pasadores
rotos o corrosión y después asegurarse siempre de que los conectores estén
bien sujetos.

|
| 3. |
Sacuda ligeramente el conector y el mazo de cables verticalmente y horizontalmente.
|
| 4. |
Repare o cambie el componente con problemas.
|
| 5. |
Verifique que el problema haya desaparecido con una prueba en carretera.
|
● SIMULACIÓN DE VIBRACIÓN
| a. |
Sensores y Actuadores
: Hacer vibrar ligeraente los sensores, accionadores o relés con el dedo.
|
Una vibración fuerte puede romper los sensores, accionadores
o relés.
|
|
| b. |
Conectores y mazo de cables
: Sacudir ligeramente el conector y el mazo de cables verticalmente y
horizontalmente.
|
● SIMULACIÓN DE CALOR
| a. |
Caliente los componentes sospechosos de causar el fallo con un secador
de pelo u otra fuente de calor.
| •
|
NO CALIENTE los componentes hasta el punto de que puedan
dañarse.
|
| •
|
NO CALIENTE el ECM directamente.
|
|
|
● SIMULACIÓN DE AGUA SALPICANDO
| a. |
Rocíe agua sobre el vehículo para simular un día de lluvia o un estado
de altos niveles de humedad.
|
NO ROCÍE agua directamente en el compartimento del motor o componentes
electrónicos.
|
|
● SIMULACIÓN DE CARGA ELÉCTRICA
| a. |
Encienda todos los sistemas eléctricos para simular cargas eléctricas
excesivas (Radios, ventiladores, luces, desempañador de ventanilla trasera
etc.).
|
PROCEDIMIENTO DE COMPROBACIÓN
DEL CONECTOR
| 1. |
Manejo del Conector
| a. |
No tire del mazo de cables para desconectar los conectores.

|
| b. |
Al desmontar el conector con bloqueo, presione o tire de la palanca
de bloqueo.

|
| c. |
Escuchar un click al bloquear conectores. Este sonido indica
que se han bloqueado de forma segura.

|
| d. |
Cuando se utilice un polímetro para comprobar la continuidad
o mida voltaje, inserte siempre la punta del cable de prueba en
el lateral del mazo de cables.

|
| e. |
Comprobar que los terminales del conector están protegidos contra
el agua desde el lado del conector. No se puede acceder a los conectores
a prueba de agua desde el lateral del mazo de cables.

|
| •
|
Utilice un cable fino para evitar daños en el terminal.
|
| •
|
No dañe el terminal al insertar el cable del polímetro.
|
|
|
| 2. |
Punto de comprobación para el conector.
| a. |
Mientras el conector está conectado:
Sujete el conector, compruebe las condiciones de conexión y la
eficacia del bloqueo.
|
| b. |
Si el conector está desconectado:
Compruebe el terminal que falta, el terminal en rizo o el cable
con el núcleo roto tirando ligeramente del mazo de cables.
Compruebe visualmente si hay óxido, contaminación, deformación
o dobleces.
|
| c. |
Compruebe las condiciones de apriete el terminal:
Inserte un terminal de repuesto macho en un terminal hembra,
y después compruebe las condiciones de apriete del terminal.
|
| d. |
Tire ligeramente de los cables individuales para garantizar que
los cables estén fijados en el terminal.

|
|
| 3. |
Método de reparación del terminal del conector
| a. |
Limpie los puntos de contacto utilizando una pistola de aire
y/o un trapo.
|
No utilice nunca papel de lija al pulir los puntos de
contacto, de lo contrario podría dañar el punto de contacto.
|
|
| b. |
En caso de una presión de contacto irregular, cambie el terminal
hembra.
|
|
PROCEDIMIENTO DE COMPROBACIÓN
DEL MAZO DE CABLES
| 1. |
Antes de quitar el mazo de cables, compruebe la posición del mazo de
cables y el rizo para volver a ponerlo correctamente.
|
| 2. |
Compruebe si el mazo de cables está retorcido, estirado o aflojado.
|
| 3. |
Compruebe si la temperatura del mazo de cables es excesivamente alta.
|
| 4. |
Compruebe si el mazo de cables está girando, moviéndose o vibrando contra
el borde duro de una pieza.
|
| 5. |
Compruebe la conexión entre el mazo de cables y cualquier pieza montada.
|
| 6. |
Si la cubierta del mazo de cables está dañada, asegure, repare o cambie
el mazo de cables.
|
PROCEDIMIENTO DE COMPROBACIÓN
DEL CIRCUITO ELÉCTRICO
● COMPRUEBE EL CIRCUITO
ABIERTO
| 1. |
Procedimientos para circuito abierto
| • |
Comprobación de continuidad
|
Si se produce un circuito abierto (como se ve en [Fig. 1]), puede detectarse
llevando a cabo el Paso 2 (Método de Comprobación de Continuidad) o el Paso
3 (Método de Comprobación de Voltaje) como se muestra a continuación.

|
| 2. |
Método de Comprobación de Continuidad
|
Al medir la resistencia, sacuda ligeramente el mazo de cables
arriba y abajo o de lado a lado.
|
|
Especificación (Resistencia)
1Ω o menos → Circuito normal
1 MΩ o superior → Circuito Abierto
|
| a. |
Desconecte los conectores (A), (C) y mida la resistencia entre
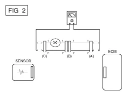
los conectores (A) y (C) como se muestra en [Fig. 2].
En la [FIG.2], la resistencia medida del conducto 1 y 2 es superior
a 1 MΩ e inferior a 1 Ω respectivamente. Concretamente, el circuito
abierto es del conducto 1 (el conducto 2 es normal). Para encontrar
el punto exacto de interrupción, compruebe el conducto auxiliar
del conducto 1 tal y como se describe en el siguiente paso.

|
| b. |
Desconecte el conector (B) y mida la resistencia entre el conector
(C) y (B1) y entre (B2) y (A) como se muestra en la [Fig. 3].
En este caso, la resistencia medida entre el conector (C) y (B1)
es superior a 1 MΩ y el circuito abierto está entre el terminal
1 del conector (C) y el terminal 1 del conector (B1).

|
|
| 3. |
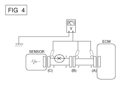
Método de comprobación del voltaje
| a. |
Con cada conector todavía conectado, mida el voltaje entre la
masa del chasis y el terminal 1 de cada conector (A), (B) y (C)
como se muestra en la [Fig. 4].
El voltaje medido de cada conector es 5 V, 5 V y 0 V respectivamente.
Así que el circuito abierto está entre el conector (C) y (B).

|
|
● COMPRUEBE EL CORTOCIRCUITO
| 1. |
Método de Comprobación para Cortocircuito a Masa
| • |
Comprobación de Continuidad con la Masa del Chasis
|
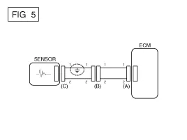
Si se produce un cortocircuito a masa como se muestra en la [Fig. 5],
el punto de ruptura puede detectarse llevando a cabo el Paso 2 (Método de
Comprobación de Continuidad con Masa del Chasis) como se muestra a continuación.

|
| 2. |
Método de Comprobación de Continuidad (con Masa de Chasis)
|
Al medir la resistencia, sacuda ligeramente el mazo de cables
arriba y abajo o de lado a lado.
|
|
Especificación (Resistencia)
1 Ω o inferior → Cortocircuito a circuito de masa
1 MΩ o superior → Circuito normal
|
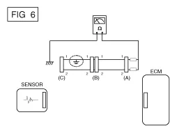
| a. |
Desconecte los conectores (A), (C) y mida la resistencia entre
el conector (A) y la masa del chasis como se muestra en [Fig. 6].
La resistencia medida de los conductos 1 y 2 en este ejemplo
es inferior a 1 Ω y superior a 1MΩ respectivamente. Concretamente,
el cortocircuito en el circuito de masa es del conducto 1 (el conducto
2 es normal). Para encontrar el punto exacto de interrupción, compruebe
el conducto auxiliar del conducto 1 tal y como se describe en el
siguiente paso.

|
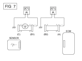
| b. |
Desconecte el conector (B) y mida la resistencia entre el conector
(A) y la masa del chasis y entre (B1) y la masa del chasis como
se muestra en la [Fig. 7].
La resistencia medida entre el conector (B1) y la masa del chasis
es 1 Ω o menos. El cortocircuito a masa está entre el terminal 1
del conector (C) y el terminal 1 del conector (B1).

|
|
TABLA GUÍA DE LOCALIZACIÓN
DE SÍNTOMAS DE AVERÍAS
(SÍNTOMA 1) EL MOTOR
NO ARRANCA
Causa posible
|
| • |
Avería del motor de arranque
|
| • |
Línea de realimentación de combustible sin conectar
|
| • |
Fuga en el circuito de combustible de alta presión
|
| • |
Desviación del sensor de presión del raíl
|
| • |
Falta de forma simultánea señales de leva y arranque del motor
|
| • |
Inmovilizador defectuoso
|
| • |
Regulador de presión de combustible contaminado o atascado
|
| • |
Válvula reguladora de presión del raíl contaminada, atascada
u obstruida
|
| • |
Calidad de combustible baja o entra gua en el combustible
|
|
| • |
Inversión de las conexiones de ombustible (retorno y alimentación)
|
| • |
Avería del filtro de combustible
|
| • |
Circuito de baja presión de combustible obstruido
|
| • |
Filtro de combustible obstruido
|
| • |
COnexión del conducto de combustible con un fallo intermitente
|
| • |
Entrada de aire en circuito de baja presión de combustible
|
| • |
Conducto de retorno de la bomba de combustible de alta presión
obstruido
|
| • |
Baja presión de compresión
|
| • |
Fuga en los separadores
|
| • |
Avería de la bomba de combustible de baja presión
|
| • |
Avería de la bomba de combustible de alta presión
|
| • |
Inyector atascado abierto
|
| • |
Error del programa ECM o error de harware
|
| • |
Avería del sistema de incadescencia
|
|
(SÍNTOMA 2) EL MOTOR
ARRANCA CON DIFICULTAD O ARRANCA Y SE CALA
Causa posible
|
| • |
Línea de retorno de combustible sin conectar en el inyector
|
| • |
Fuga en el circuito de combustible de alta presión
|
| • |
Filtro de aire obstruido
|
| • |
Alternado o regulador de voltaje averiado
|
| • |
La compensación del inyector individual no adaptado
|
| • |
So existe señal del sensor de temperatura del refrigerante del
motor
|
| • |
Señal de sensor de presión del raíl
|
| • |
Válvula de control EGR eléctrica bloqueada abierta
|
| • |
Regulador de presión de combustible contaminado o atascado
|
| • |
Válvula reguladora de presión del raíl contaminada, atascada
u obstruida
|
| • |
Calidad de combustible baja o entra gua en el combustible
|
| • |
Inversión de las conexiones de ombustible (retorno y alimentación)
|
|
| • |
Circuito de baja presión de combustible obstruido
|
| • |
Filtro de combustible obstruido
|
| • |
Nivel de aceite demasiado alto / bajo
|
| • |
Convertidos catalítico dañado o sellado
|
| • |
COnexión del conducto de combustible con un fallo intermitente
|
| • |
Entrada de aire en circuito de baja presión de combustible
|
| • |
Conducto de retorno de la bomba de combustible de alta presión
obstruido
|
| • |
Avería del sistema de incadescencia
|
| • |
Baja presión de compresión
|
| • |
Línea de retorno del inyector obstruida
|
| • |
Depósito de carbonilla en inyector (agujeros sellados)
|
| • |
Aguja del inyector atascada (posible inyección por encima de
una determinada presión)
|
| • |
Gasolina en combustible
|
| • |
Error del programa ECM o error de harware
|
|
(SÍNTOMA 3) ARRANQUE
INSUFICIENTE EL CALIENTE
Causa posible
|
| • |
La compensación del inyector individual no adaptado
|
| • |
Señal de sensor de presión del raíl
|
| • |
Válvula de control EGR eléctrica bloqueada abierta
|
| • |
Regulador de presión de combustible contaminado o atascado
|
| • |
Válvula reguladora de presión del raíl contaminada, atascada
u obstruida
|
| • |
Filtro de aire obstruido
|
| • |
Entrada de aire en circuito de baja presión de combustible
|
| • |
Calidad de combustible baja o entra gua en el combustible
|
|
| • |
Conducto de retorno de la bomba de combustible de alta presión
obstruido
|
| • |
Filtro de combustible obstruido
|
| • |
Baja presión de compresión
|
| • |
COnexión del conducto de combustible con un fallo intermitente
|
| • |
Depósito de carbonilla en inyector (agujeros sellados)
|
| • |
Aguja del inyector atascada (posible inyección por encima de
una determinada presión)
|
| • |
Gasolina en combustible
|
| • |
Error del programa ECM o error de harware
|
|
(SÍMTOMA 4) RALENT
INESTABLE
Causa posible
|
| • |
Línea de retorno de combustible sin conectar en el inyector
|
| • |
La compensación del inyector individual no adaptado
|
| • |
Señal de sensor de presión del raíl
|
| • |
Circuito abierto o mala conexión del mazo del cableado
|
| • |
Entrada de aire en circuito de baja presión de combustible
|
| • |
Calidad de combustible baja o entra gua en el combustible
|
| • |
Filtro de combustible obstruido
|
| • |
Filtro de aire obstruido
|
| • |
Línea de retorno del inyector obstruida
|
| • |
Fuga en el circuito de combustible de alta presión
|
|
| • |
Avería del sistema de incadescencia
|
| • |
Baja presión de compresión
|
| • |
Mal apriete de la abrazadera del inyector
|
| • |
Avería de la bomba de combustible de alta presión
|
| • |
Depósito de carbonilla en inyector (agujeros sellados)
|
| • |
Aguja del inyector atascada (posible inyección por encima de
una determinada presión)
|
| • |
Inyector atascado abierto
|
| • |
Válvula de control EGR eléctrica bloqueada abierta
|
|
(SÍNTOMA 5) VELOCIDAD
DE RALENT DEMASIADO ALTA O BAJA
Causa posible
|
| • |
So existe señal del sensor de temperatura del refrigerante del
motor
|
| • |
Estado incorrecto de dispositivos de pack eléctrico
|
| • |
Alternado o regulador de voltaje averiado
|
| • |
Error del programa ECM o error de harware
|
|
| • |
Válvula de control EGR eléctrica bloqueada abierta
|
| • |
Pedal del acelerador averiado
|
|
(SÍNTOMA 6) HUMO, AZUL,
BLANCO O NEGRO
Causa posible
|
| • |
La compensación del inyector individual no adaptado
|
| • |
So existe señal del sensor de temperatura del refrigerante del
motor
|
| • |
Señal de sensor de presión del raíl
|
| • |
Válvula de control EGR eléctrica bloqueada abierta
|
| • |
Regulador de presión de combustible contaminado o atascado
|
| • |
Válvula reguladora de presión del raíl contaminada, atascada
u obstruida
|
| • |
Nivel de aceite demasiado alto / bajo
|
| • |
Calidad de combustible baja o entra gua en el combustible
|
| • |
Convertidos catalítico dañado o sellado
|
|
| • |
Filtro de aire obstruido
|
| • |
Aspiración de aceite (motor en aceleración)
|
| • |
Avería del sistema de incadescencia
|
| • |
Baja presión de compresión
|
| • |
Mal apriete de la abrazadera del inyector
|
| • |
Mala calidad de la junta tórica del inyector, sin junta tórica
o con dos juntas tóricas instaladas
|
| • |
Depósito de carbonilla en inyector (agujeros sellados)
|
| • |
Inyector atascado abierto
|
| • |
Gasolina en combustible
|
|
(SÍNTOMA 7) TRAQUETEO
DE MOTOR, MOTOR RUIDOSO
Causa posible
|
| • |
La compensación del inyector individual no adaptado
|
| • |
Válvula de control EGR eléctrica bloqueada abierta
|
| • |
Válvula de control EGR eléctrica bloqueada abierta
|
| • |
So existe señal del sensor de temperatura del refrigerante del
motor
|
| • |
Avería del sistema de incadescencia
|
| • |
Baja presión de compresión
|
| • |
Línea de retorno del inyector obstruida
|
| • |
Señal de sensor de presión del raíl
|
|
| • |
Mala calidad de la junta tórica del inyector, sin junta tórica
o con dos juntas tóricas instaladas
|
| • |
Depósito de carbonilla en inyector (agujeros sellados)
|
| • |
Aguja del inyector atascada (posible inyección por encima de
una determinada presión)
|
| • |
Inyector atascado abierto
|
| • |
So existe señal del sensor de temperatura del refrigerante del
motor
|
|
(SÍNTOMA 8) RUIDO DE
EXPLOSIÓN
Causa posible
|
| • |
La compensación del inyector individual no adaptado
|
| • |
COnexión del conducto de combustible con un fallo intermitente
|
| • |
Sistema de escape atascado
|
| • |
Señal de sensor de presión del raíl
|
|
| • |
Regulador de presión de combustible contaminado o atascado
|
| • |
Válvula reguladora de presión del raíl contaminada, atascada
u obstruida
|
| • |
Error del programa ECM o error de harware
|
|
(SINTOMA 9) ACELERACIÓN
/ DESACELERACIÓN FUERA DE TIEMPO Y ACELERACIÓN
Causa posible
|
| • |
Sensor de posición del pedal del acelerador bloqueado
|
| • |
Válvula de control EGR eléctrica bloqueada abierta
|
| • |
COnexión del conducto de combustible con un fallo intermitente
|
|
| • |
Aspiración de aceite (motor en aceleración)
|
| • |
Señal de sensor de presión del raíl
|
| • |
Error del programa ECM o error de harware
|
|
(SÍNTOMA 10) ESPACIO
ENTRE ACELERACIÓN Y REACOPLAMIENTO (TIEMPO DE RESPUESTA)
Causa posible
|
| • |
Fugas del sistema de admisión
|
| • |
Estado incorrecto de dispositivos de pack eléctrico
|
| • |
Sensor de posición del pedal del acelerador bloqueado
|
| • |
Válvula de control EGR eléctrica bloqueada abierta
|
| • |
Turbocompresor dañado o fuga en la línea de vacío
|
| • |
Filtro de combustible obstruido
|
| • |
Baja presión de compresión
|
| • |
Fuga en el circuito de combustible de alta presión
|
|
| • |
Regulador de presión de combustible contaminado o atascado
|
| • |
Válvula reguladora de presión del raíl contaminada, atascada
u obstruida
|
| • |
Aguja del inyector atascada (posible inyección por encima de
una determinada presión)
|
| • |
Error del programa ECM o error de harware
|
|
(SÍNTOMA 11) PARADA
DEL MOTOR
Causa posible
|
| • |
Línea de realimentación de combustible sin conectar
|
| • |
Fuga en el circuito de combustible de alta presión
|
| • |
Calidad de combustible baja o entra gua en el combustible
|
| • |
Circuito de baja presión de combustible obstruido
|
| • |
Filtro de combustible obstruido
|
| • |
Faltan las señales de la leva
|
| • |
Válvula de control EGR eléctrica bloqueada abierta
|
| • |
Regulador de presión de combustible contaminado o atascado
|
|
| • |
Válvula reguladora de presión del raíl contaminada, atascada
u obstruida
|
| • |
Alternado o regulador de voltaje averiado
|
| • |
COnexión del conducto de combustible con un fallo intermitente
|
| • |
Convertidos catalítico dañado o sellado
|
| • |
Avería de la bomba de combustible de baja presión
|
| • |
Avería de la bomba de combustible de alta presión
|
| • |
Gasolina en combustible
|
| • |
Error del programa ECM o error de harware
|
|
(SÍNTOMA 12) SACUDIDAS
DEL MOTOR
Causa posible
|
| • |
Línea de retorno de combustible sin conectar en el inyector
|
| • |
Estado incorrecto de dispositivos de pack eléctrico
|
| • |
La compensación del inyector individual no adaptado
|
| • |
Válvula de control EGR eléctrica bloqueada abierta
|
| • |
Avería del filtro de combustible
|
| • |
Entrada de aire en circuito de baja presión de combustible
|
| • |
Calidad de combustible baja o entra gua en el combustible
|
| • |
Filtro de combustible obstruido
|
| • |
COnexión del conducto de combustible con un fallo intermitente
|
| • |
Circuito abierto o mala conexión del mazo del cableado
|
| • |
Avería del sistema de incadescencia
|
|
| • |
Baja presión de compresión
|
| • |
Línea de retorno del inyector obstruida
|
| • |
Holgura de la válvula escada
|
| • |
Avería de la bomba de combustible de baja presión
|
| • |
Mala calidad de la junta tórica del inyector, sin junta tórica
o con dos juntas tóricas instaladas
|
| • |
Depósito de carbonilla en inyector (agujeros sellados)
|
| • |
Aguja del inyector atascada (posible inyección por encima de
una determinada presión)
|
| • |
Inyector atascado abierto
|
| • |
Gasolina en combustible
|
| • |
Error del programa ECM o error de harware
|
|
(SÍNTOMA 13) FALTA
DE POTENCIA
Causa posible
|
| • |
La compensación del inyector individual no adaptado
|
| • |
Sensor de posición del pedal del acelerador bloqueado
|
| • |
Estado incorrecto de dispositivos de pack eléctrico
|
| • |
Válvula de control EGR eléctrica bloqueada abierta
|
| • |
Fugas del sistema de admisión
|
| • |
Filtro de aire obstruido
|
| • |
Nivel de aceite demasiado alto / bajo
|
| • |
Convertidos catalítico dañado o sellado
|
| • |
Turbocompresor dañado o fuga en la línea de vacío
|
|
| • |
Filtro de combustible obstruido
|
| • |
Fuga en los separadores
|
| • |
Conducto de retorno de la bomba de combustible de alta presión
obstruido
|
| • |
Línea de retorno del inyector obstruida
|
| • |
Baja presión de compresión
|
| • |
Depósito de carbonilla en inyector (agujeros sellados)
|
| • |
Holgura de la válvula escada
|
| • |
Temperatura del refrigerante del motor demasiado alta
|
| • |
Presión de combustible demasiado alta
|
|
(SÍNTOMA 14) EXCESO
DE POTENCIA
Causa posible
|
| • |
La compensación del inyector individual no adaptado
|
| • |
Aspiración de aceite (motor en aceleración)
|
|
| • |
Error del programa ECM o error de harware
|
|
(SÍNTOMA 15) CONSUMO
EXCESIVO DE COMBUSTIBLE
Causa posible
|
| • |
Línea de retorno de combustible sin conectar en el inyector
|
| • |
Fuga en válvula reguladora de presión de combustible
|
| • |
Fugas en sensor de temperatura de combustible
|
| • |
Fuga en el circuito de combustible de alta presión
|
| • |
Fugas del sistema de admisión
|
| • |
Filtro de aire obstruido
|
| • |
La compensación del inyector individual no adaptado
|
| • |
Válvula de control EGR eléctrica bloqueada abierta
|
|
| • |
Estado incorrecto de dispositivos de pack eléctrico
|
| • |
Nivel de aceite demasiado alto / bajo
|
| • |
Calidad de combustible baja o entra gua en el combustible
|
| • |
Convertidos catalítico dañado o sellado
|
| • |
Baja presión de compresión
|
| • |
Error del programa ECM o error de harware
|
|
(SÍNTOMA 16) EXCESO
DE VELOCIDAD DEL MOTOR AL CAMBIAR DE RELACIÓN DE CAJA DE CAMBIOS
Causa posible
|
| • |
Sensor de posición del pedal del acelerador bloqueado
|
| • |
La compensación del inyector individual no adaptado
|
| • |
COnexión del conducto de combustible con un fallo intermitente
|
| • |
Embrague mal colocado (opcional)
|
|
| • |
Aspiración de aceite (motor en aceleración)
|
| • |
Error del programa ECM o error de harware
|
|
(SÍNTOMA 17) OLORES
DE GASES DE ESCAPE
Causa posible
|
| • |
Fuga en la válvua de control EGR eléctrico
|
| • |
Aspiración de aceite (motor en aceleración)
|
| • |
Nivel de aceite demasiado alto / bajo
|
| • |
La compensación del inyector individual no adaptado
|
| • |
Convertidos catalítico dañado o sellado
|
| • |
Mal apriete de la abrazadera del inyector
|
|
| • |
Mala calidad de la junta tórica del inyector, sin junta tórica
o con dos juntas tóricas instaladas
|
| • |
Depósito de carbonilla en inyector (agujeros sellados)
|
| • |
Aguja del inyector atascada (posible inyección por encima de
una determinada presión)
|
| • |
Inyector atascado abierto
|
| • |
Error del programa ECM o error de harware
|
|
(SÍNTOMA 18) HUMO,
(AZUL, BLANCO O NEGRO) AL ACELERAR
Causa posible
|
| • |
La compensación del inyector individual no adaptado
|
| • |
Válvula de control EGR eléctrica bloqueada abierta
|
| • |
Filtro de aire obstruido
|
| • |
Calidad de combustible baja o entra gua en el combustible
|
| • |
Nivel de aceite demasiado alto / bajo
|
| • |
Convertidos catalítico dañado o sellado
|
| • |
Aspiración de aceite (motor en aceleración)
|
| • |
Calentador de aire averiado
|
| • |
Baja presión de compresión
|
| • |
Fuga en el circuito de combustible de alta presión
|
|
| • |
COnexión del conducto de combustible con un fallo intermitente
|
| • |
Mal apriete de la abrazadera del inyector
|
| • |
Mala calidad de la junta tórica del inyector, sin junta tórica
o con dos juntas tóricas instaladas
|
| • |
Depósito de carbonilla en inyector (agujeros sellados)
|
| • |
Aguja del inyector atascada (posible inyección por encima de
una determinada presión)
|
| • |
Inyector atascado abierto
|
| • |
Gasolina en combustible
|
| • |
Error del programa ECM o error de harware
|
| • |
Filtro de partículas catalizadas (DPF)
|
|
(SÍNTOMA 19) OLORES
DE COMBUSTIBLE
Causa posible
|
| • |
Línea de realimentación de combustible sin conectar
|
| • |
Línea de retorno de combustible sin conectar en el inyector
|
| • |
Fuga en válvula reguladora de presión de combustible
|
|
| • |
Fugas en sensor de temperatura de combustible
|
| • |
Fuga en el circuito de combustible de alta presión
|
|
(SÍNTOMA 20) EL MOTOR
SE COLAPSA AL ARRANCAR
Causa posible
|
| • |
Sensor de posición del pedal del acelerador bloqueado
|
| • |
Estado incorrecto de dispositivos de pack eléctrico
|
| • |
Filtro de aire obstruido
|
| • |
Inversión de las conexiones de ombustible (retorno y alimentación)
|
| • |
Avería del filtro de combustible
|
| • |
Calidad de combustible baja o entra gua en el combustible
|
| • |
Entrada de aire en circuito de baja presión de combustible
|
| • |
Filtro de combustible obstruido
|
| • |
Convertidos catalítico dañado o sellado
|
|
| • |
COnexión del conducto de combustible con un fallo intermitente
|
| • |
Señal de sensor de presión del raíl
|
| • |
Regulador de presión de combustible contaminado o atascado
|
| • |
Válvula reguladora de presión del raíl contaminada, atascada
u obstruida
|
| • |
Gasolina en combustible
|
| • |
Error del programa ECM o error de harware
|
| • |
Sensor de posición del pedal del acelerador averiado
|
|
(SÍNTOMA 21) EL MOTOR
NO SE DETIENE
Causa posible
|
| • |
Circuito de lubricación desgastado u obstruido del cambiador
|
| • |
Desmasiado aceite en el motor
|
|
| • |
Fuga en la manguera de vacío
|
| • |
Error del programa ECM o error de harware
|
|
(SÍNTOMA 22) RUIDOS
MECÁNICOS DIFERENTES
Causa posible
|
| • |
Ruido de zumbador (descarga de inyectores)
|
| • |
Clip roto (vibraciones, resonancia, ruidos)
|
| • |
Estado incorrecto de dispositivos de pack eléctrico
|
| • |
Convertidos catalítico dañado o sellado
|
|
| • |
Fugas del sistema de admisión
|
| • |
Mal apriete de la abrazadera del inyector
|
| • |
Holgura de la válvula escada
|
|
Procedimientos de reparación
Inspección
1.
Apague el interruptor de encendido y desconecte el terminal negativo
(-) de la batería.
Componentes y localización de los componentes
LOCALIZACIÓN DE LOS COMPONENTES
1. ECM (Módulo de control del
motor)
2.
Other information:
Procedimientos de reparación
Extracción
1.
Desconecte el terminal negativo (-) de la batería.
2.
Soltar el tablero.
(Consulte Carrocería - "Conjunto del panel de protección principal")
3.
Componentes y localización de los componentes
Componentes
1. Interruptor LDWS ON/OFF
2. Panel de instrumentos
3. Unidad del LDWS (MFC)
* MFC : Cámara multifunción
–
Función : LDWS, HBA, AEB
Descripción y operación
Descripción
DIAGRAMA DE BLOQUE