| Especificación |
|
Elemento |
Especificación |
|
Voltaje nominal (V) |
12 |
|
Operar voltaje (V) |
6 ~ 16 |
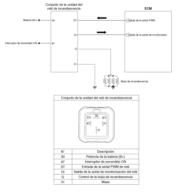
| Diagrama del circuito |

| Inspección |
Compruebe la unidad del relé de incandescencia en la siguiente condición. De lo contrario, el conjunto de la unidad del relé de incandescencia podría no funcionar debido al calor de la bujía de incandescencia.
|
| 1. |
Mida el voltaje entre el terminal "G" del conector del conjunto de la unidad del relé de incandescencia y el terminal (-) de la batería.
|
|||||||||||||||
| Extracción |
| 1. |
Poner el interruptor de encendido en OFF y desconectar el terminal negativo (-) de la batería. |
| 2. |
Desmonte el filtro de aire. (Consulte el sistema mecánico del motor - "Filtro de aire") |
| 3. |
Retire las tuercas de fijación y desconecte el conector. |
| 4. |
Desmonte el conjunto de la unidad del relé de incandescencia (A) tras aflojar las tuercas de fijación.
|
| Instalación |
| 1. |
El montaje debe realizarse en el orden inverso al desmontaje. |
Características técnicas Especificación Elemento Especificación Tipo Metal Voltaje nominal (V) 5-4 Resistencia [Ω] Normal 0,25 ~ 5 [20 ~ 30 °C (68 ~ 86 °F)] Abierto Superior a 5 [20 ~ 30 °C (68 ~ 86 °F)] Cortocircuito Inferior a 0,25 [20 ~ 30 °C (68 ~ 86 °F)] Diagramas esquemáticos Diagrama del circuito Procedimientos de reparación Inspección • Nunca conecte la bujía de incandescencia directamente a la batería del vehículo para comprobar el funcionamiento del calor de la bujía de incandescencia.
Descripción y operación Descripción El sistema de arranque incluye la batería, el motor de arranque, el interruptor de solenoide, el interruptor del inhibidor (A/T), el interruptor de encendido, el interruptor de bloqueo de encendido, los cables de conexión y el cable de la batería.
Componentes y localización de los componentes Componentes Interruptor de elevalunas del conductor INFORMACIÓN SOBRE EL PASADOR DEL CONECTOR [Seguridad del conductor delantera / trasera - Subida/bajada automática] (IZQ) N° Descripción N° Descripción
Descripción y operación Descripción El filtro del aire del control del climatizador se encuentra en la unidad del ventilador. Este elimina materias y olores extraños. El filtro de partículas desempeña un papel de filtro de olores además de filtro de polvo convencional para asegurar un entorno confortable en el interior de