| Especificación |
Motor
|
Elemento |
Especificación |
|
Voltaje de funcionamiento (V) |
10 ~ 16 |
|
Tensión nominal |
12 |
|
Tipo |
Motor CC |
|
Resistencia de la bobina (Ω) |
3,4 ~ 4,4 |
|
Corriente a ralentí (mA) |
Máx. 210 [20°C(68°F)] |
|
Corriente de arranque (A) |
Inferior a 4,75 |
sensor
|
Elemento |
Especificación |
|
Resistencia de la bobina (Ω) |
3.01 ~ 5.59 [20°C(68°F)] |
|
Voltaje de salida (V) |
0,17 ~ 4,83 |
|
Corriente de alimentación (mA) |
Máx. 16 |
| Descripción |
El actuador de la turbulencia variable consiste en un motor CC y un sensor de posición que detecta la posición de la válvula de turbulencia.
En ralentí o por debajo de los 2.500 rpm, se cierra la válvula de turbulencia. El efecto de turbulencia aumente la proporción de flujo de aire.

|
|
Carga baja y media |
Carga alta |
|
Régimen del motor |
Inferior a 2.500 rpm |
Superior a 2.500 rpm |
|
Operación de la válvula |
cerrar |
Abierto |
|
Descripción Ilustración |
|
|
|
Seguridad contra fallos |
Completamente abierto |
|
Para evitar que la válvula de turbulencia y el árbol se osbtruyan con material extraño y para aprender la posición de apertura y cierre máximo de la válvula, el ECM abre y cierra completamente dos veces la válvula cuando se apaga el motor. |
| Diagrama del circuito |

| Extracción |
| 1. |
Poner el interruptor de encendido en OFF y desconectar el terminal negativo (-) de la batería. |
| 2. |
Libere la parte del mazo de cables del motor (A) tras retirar los pernos de montaje.
|
| 3. |
Desconecte el conector del actuador de turbulencia variable (A).
|
| 4. |
Desmonte el actuador de turbulencia variable (A) después de soltar los pernos de montaje (B).
|
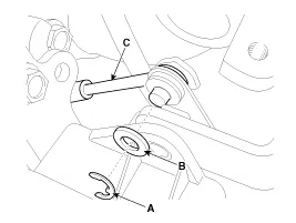
| 5. |
Desmonte el conjunto de la conexión del eje (C) después desmonte la tuerca E (A) y la arandela (B).
|
| 6. |
Desmonte el actuador de turbulencia variable. |
| Instalación |
| 1. |
El montaje debe realizarse en el orden inverso al desmontaje.
|
| 2. |
Confirme que el actuador funciona correctamente al menos 3 veces cuando el interruptor de encendido está apagado después de completar el calentamiento (Temperatura del refrigerante del motor 70 °C). |
| Ajuste |
|
| 1. |
Apague el interruptor de encendido. |
| 2. |
Conecte el KDS/GDS a la toma de diagnóstico (DLC). |
| 3. |
Gire el conmutador de encendido hacia ON: |
| 4. |
Seleccione "Vehículo, año del modelo, motor, sistema". |
| 5. |
Seleccione "Gestión del software del vehículo". |
| 6. |
Seleccione" RUTINA DEL CAMBIO DEL COMPONENTE ". |
| 7. |
Seleccione el "CAMBIO DEL SENSOR LAMBDA"
|
| 8. |
Apague el interruptor de encendido y vuelva a activar el interruptor de encendido en 20 segundos.
|
Características técnicas Especificación Motor Elemento Especificación Tensión nominal 12 Voltaje de funcionamiento (V) 9 ~ 17 Tipo Motor CC Frecuencia de contro (Hz) 200 ~ 1500 Resistencia de la bobina (Ω) 2,65 ~ 3,25 Máx.
Características técnicas Especificación Elemento Especificación Tensión nominal 12 Voltaje de funcionamiento (V) 10,8 ~ 16 Tipo de control de voltaje PWM Frecuencia de contro (kHz) 300 Ciclo de rendimiento (%) 20 ~ 95 Resistencia de la bobina (Ω) 14,7 ~ 16,1 [20 °C (68 °F)] Descripción y operación Descripción El turbocompresor de descarga de residuos (WGT) se utiliza para cargar aire adicional a la cámara de combustión para mejorar la eficacia de combustión.
Componentes y localización de los componentes LOCALIZACIÓN DE LOS COMPONENTES 1. Relé del desempañador del cristal trasero 2. Interruptor del desempañador de la luna trasera (Tipo manual) 3. Interruptor del desempañador de la luneta trasera (Tipo FATC) 4.
Descripción y operación Descripción El ionizador del panel de instrumentos ayuda en la limpieza de las puertas del vehículo o en el sistema del aire acondicionado. Si el interruptor de encedido está en ON, el ionizador ejecuta el modo LIMPIEZA y luego el modo IONIZADOR: encendiéndose cada 15 minutos.