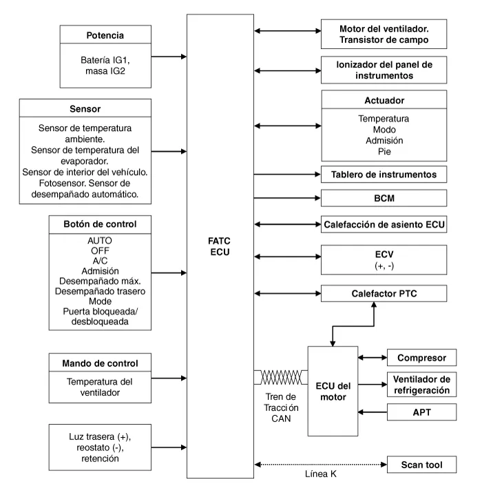
| Componentes |

FUNCIÓN DEL PASADOR DEL CONECTOR
|
N° |
CONECTOR A |
CONECTOR B |
|
1 |
Batería |
⁻ |
|
2 |
Batería ISG (+) |
⁻ |
|
3 |
ILUMINACIÓN (-) |
⁻ |
|
4 |
Sensor (REF) (+) |
Retroalimentación del actuador del desempañador |
|
5 |
Retroalimentación del actuador de control de modo |
Actuador del desempañador (abrir) |
|
6 |
Retroalimentación del actuador de control de temperatura |
Actuador del desempañador (cerrar) |
|
7 |
Retroalimentación del actuador de admisión |
⁻ |
|
8 |
Sensor del evaporador (+) |
⁻ |
|
9 |
Sensor ambiental (+) |
⁻ |
|
10 |
Actuador del control de modo (Ventilación) |
⁻ |
|
11 |
Actuador de control de modo (Def) |
Corriente del desempañador |
|
12 |
Actuador de control de temperatura (frío) |
Temperatura de desempañador |
|
13 |
Actuador de control de temperatura (templado) |
SCK del desempañador |
|
14 |
Actuador de admisión (fre) |
Datos del desempañador |
|
15 |
Actuador de admisión (rec) |
⁻ |
|
16 |
HTD |
masa |
|
17 |
Interruptor de desempañador trasero |
|
|
18 |
⁻ |
|
|
19 |
⁻ |
|
|
20 |
ILUMINACIÓN (-) |
|
|
21 |
ENC 2 |
|
|
22 |
ENC 1 |
|
|
23 |
Motor de sopolador (+) |
|
|
24 |
FOTOSENSOR (-) |
|
|
25 |
⁻ |
|
|
26 |
⁻ |
|
|
27 |
⁻ |
|
|
28 |
Relé PTC 3 |
|
|
29 |
Relé PTC 2 |
|
|
30 |
Señal PTC ON |
|
|
31 |
Salida de retención (+) |
|
|
32 |
⁻ |
|
|
33 |
CAN del chasis (ALTO) |
|
|
34 |
CAN del chasis (BAJO) |
|
|
35 |
FET (Retroalimentación de la manguera de drenaje) |
|
|
36 |
FET (puerta) |
|
|
37 |
ECV (-) |
|
|
38 |
ECV (-) |
|
|
39 |
Puesta a tierra de sensor |
|
|
40 |
masa |
| Diagramas Esquemáticos |

| Autodiagnóstico |
| 1. |
Proceso de autodiagnóstico
|
| 2. |
CÓMO LEER UN CÓDIGO DE AUTODIAGNÓSTICO Durante el autodiagnóstico, el código de fallo correspondiente parpadea en el panel de visualización de la temperatura de ajuste cada 0,5 segundos y muestra dos dígitos. Los códigos de fallo se visualizan en un formato numérico.
|
| 3. |
VISUALIZACIÓN DE DTC
|
| 4. |
Si se muestran los DTC durante la comprobación, comprobar las causas del fallo consultando los DTC. |
| 5. |
Seguridad contra fallos
|
| Sustitución |
| 1. |
Desconecte el terminal negativo (-) de la batería. |
| 2. |
Desmonte el controlador del aire acondicionado y el calefactor (A) tras aflojar la unidad de montaje.
|
| 3. |
Desconecte los conectores (A) y la manguera de aire (B).
|
| 4. |
Para el montaje, siga el orden inverso al desmontaje. |