| LOCALIZACIÓN DE LOS COMPONENTES |
| Bloque de conexiones E/R |

| Circuito (Bloque PCB) |

| Bloque de conexiones E/R |

| Circuito (Bloque PCB) |

| Bloque de conexiones E/R |

| Circuito (Bloque PCB) |

| Bloque de conexiones E/R |

| Circuito (Bloque PCB) |

| Bloque de conexiones diésel / gasolina |

| Inspección |
| 1. |
Desconecte el terminal negativo (-) de la batería. |
| 2. |
Extraiga el relé del bloque de relés del compartimentos del motor. |
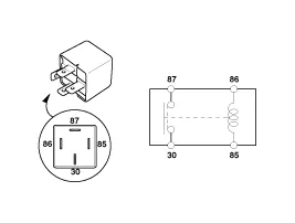
REL DE POTENCIA (TIPO A)
Compruebe la existencia de continuidad entre los terminales.
| 1. |
Tras suministrar corriente entre los terminales del relé de alimentación N° 85 y 86, compruebe que haya continuidad entre los terminales N° 30 y 87. |
| 2. |
Tras desconectar la alimentación entre los terminales del relé de alimentación N° 85 y 86, compruebe que no haya continuidad entre los terminales N° 30 y 87. Bloque de relés del compartimento del motor
|
REL DE POTENCIA (TIPO B)
Compruebe la existencia de continuidad entre los terminales.
| 1. |
Tras suministrar corriente entre los terminales del relé de alimentación N° 85 y 86, compruebe que haya continuidad entre los terminales N° 30 y 87. |
| 2. |
Tras desconectar la alimentación entre los terminales del relé de alimentación N° 85 y 86, compruebe que no haya continuidad entre los terminales N° 30 y 87.
|
Fusible
| 1. |
Compruebe que los portafusibles estén sujetos de forma suelta y que los fusibles estén firmemente fijados en los portafusibles. |
| 2. |
Compruebe que cada circuito de fusible tenga la capacidad exacta para el fusible. |
| 3. |
Compruebe posibles daños en los fusibles.
|
Fusible múltiple
| 1. |
Desconecte el terminal negativo (-) de la batería. |
| 2. |
Extraiga el terminales del cable de alimentación (A) tras aflojar la tuercas de la caja de relés y fusibles del compartimento del motor.
|
| 3. |
Extraiga el fusible múltiple (A) tras presionar el gancho.
|
|
Componentes y localización de los componentes LOCALIZACIÓN DE LOS COMPONENTES [Compartimento del motor] 1. Bloque de relés del habitáculo del motor [Relé interior] 1.
Componentes y localización de los componentes LOCALIZACIÓN DE LOS COMPONENTES Bloque de conexiones I/P Circuito (Bloque de conexiones I/P) Procedimientos de reparación Inspección del fusible 1.
Componentes y localización de los componentes Componentes. Interruptor de elevalunas del conductor Diagramas esquemáticos Diagrama del circuito [Tipo de desplegado del retrovisor] [Tipo plegado retrovisor] Procedimientos de reparación Extracción
Descripción y operación Descripción El actuador de admisión se encuentra en la unidad del ventilador. Regula la puerta de admisión con la señal de la unidad de control. Al pulsar el interruptor de selección de admisión se pasa entre los modos de recirculación y aire fresco.