| Componentes |

| 1. Resistencia del ventilador
del refrigerador 2. Cubierta del ventilador del refrigeración |
3. Motor del ventilador 4. Ventilador del refrigerador |
| Características técnicas |
|
Elemento |
Especificación |
|
|
120 W |
220W |
|
|
Tipo de ventilador |
EXTRACTOR |
EXTRACTOR |
|
Control de la velocidad del ventilador |
RESISTOR |
RESISTOR |
|
Velocidad de flujo de aire (㎥/h) |
1700 -8% mín. |
1900 -8% mín. |
|
Velocidad del ventilador (rpm) |
1600 ±8% |
2000 ±8% |
|
Corriente (A) |
10,0 + 10% máx. |
18,3 + 10% máx. |
| Descripción |
[Tipo con aire acondicionado]
El ventilador de refrigeración funciona con 2 niveles (ALTO/BAJO). El módulo de control del motor (ECM) controla el ventilador de refrigeración de acuerdo a la temperatura del refrigerante, a la velocidad del vehículo y al funcionamiento del A/C.
[Tipo sin aire acondicionado]
El ventilador de refrigeración opera en el 1er nivel (HIGH). El módulo de control del motor (ECM) controla el ventilador de refrigeración de acuerdo a la temperatura del refrigerante, a la velocidad del vehículo y al funcionamiento del A/C.
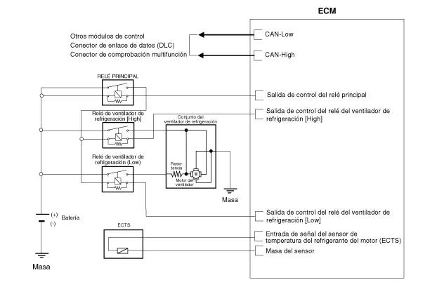
| Diagrama del circuito |

| Desmontaje y montaje |
| 1. |
Desmonte el radiador. (Consulte el sistema de refrigeración - "Radiador") |
| 2. |
Extraiga el ventilador de refrigeración (A) del radiador.
|
RESISTOR
| 1. |
Desmonte el filtro de aire. (Consulte el sistema de admisión y escape - "Filtro de aire") |
| 2. |
Desconecte el conector (A) del mazo de cables y el conector del motor del ventilador (B).
|
| 3. |
Desmonte la resistencia (A) de la caja del ventilador.
|
| 4. |
El montaje debe realizarse en el orden inverso al desmontaje. |
| Desmontaje |
| 1. |
Desmonte el ventilador de refrigeración (A) del conjunto del ventilador de refrigeración.
|
| 2. |
Desconecte el conector del motor del ventilador (A) de la resistencia.
|
| 3. |
Desmonte el motor del ventilador (A) de la caja del ventilador de refrigeración.
|
| 4. |
Arme en el orden inverso al de desarmado. Refíerase a la Aviso del armado, pagina TR. |
| Inspección |
Motor ventilador
| 1. |
Desconecte el conector del motor del ventilador de la resistencia. |
| 2. |
Conecte el voltaje de la batería al terminal "+" y la masa al terminal "-" |
| 3. |
Compruebe que el motor del ventilador funciona correctamente. |
Procedimientos de reparación Desmontaje y montaje 1. Desconecte la manguera de la reserva (A) y drene el refrigerante del depósito de reserva.
Componentes y localización de los componentes Componentes 1. Radiador 2. Manguera superior del radiador 3. Manguera inferior del radiador 4.
Procedimientos de reparación Inspección 1. Desconecte el terminal negativo (-) de la batería. 2. Desmonte el conjunto del guarnecido del techo. (Consulte el grupo de carrocería - "Conjunto del guarnecido del techo") 3.
Descripción y operación Descripción El actuador de control de modo se encuentra en la unidad del calefactor. Ajusta la posición de la puerta de modo operando el actuador de control de modo basado en la señal de la unidad de control de A/C.